服務熱線
0317-3025679

RY熱油泵
一、產品介紹:我公司生產的RY熱油泵的性能穩(wěn)定,質量過關,泵體 內部構造科學合理,型號標準(國標),使用安全,使用壽命長,可投入并配備到工業(yè)領域機械設備上使用,是通用機械零部件設備的選擇。我公司生產的油泵可輸送溫度較高并且不含雜質和直徑過大的固體顆粒的液體。使用時其溫度與抗腐蝕程度在于輸送介質時介質與泵體接觸的主要零件部位的材質。
二、使用范圍:
(1)合成纖維工業(yè)
(2)石油工業(yè)以及化工
(3)印染、紡織工業(yè)
(4)造紙印刷工業(yè)
(5)建筑工業(yè)
(6)木材工業(yè)
(7)油脂工業(yè)
(8)橡膠及塑料工業(yè)
(9)機械工業(yè)
(10)熱油爐供油循環(huán)系統(tǒng)
(11)食品工業(yè)
(12)醫(yī)藥生產
(13)熱油取暖循環(huán)系統(tǒng)
三、性能范圍
(1)流量1--500m3/h
(2)揚程10-125m;
(3)溫度-20攝氏度-350攝氏度
四、結構特點:
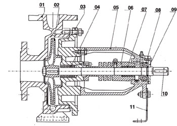
RY熱油泵的結構大致分為兩種:一種是中心支撐結構,另一種是腳支撐結構。且熱油泵泵體的進口與出口方向不在一條水平線上,進口為軸向吸入,出口為中心垂直向上。熱油泵整機共分為三部分:泵頭,底座,電機。泵頭與電機用彈性聯軸器相連接,并一同固定在底座上。
RY熱油泵泵頭主要由殼體、轉子、軸承、密封等部分組成,采用的密封結構為填料密封,其中重要的一點是,為了起到輔助密封的作用,特別加了耐溫油封,這樣可以使泵體接觸更高的介質溫度并正常運轉。泵與電動機采用三爪型彈性聯軸器聯接,如用戶有特殊需求,可配備其他類型聯軸器。
銷售電話:0317-3025679 傳真:0317-3025679 地址:河北省滄州市運河區(qū)浮陽北大道
Copyright © 2017-2018 jixuanpump.com 滄州吉軒工業(yè)泵有限公司 版權所有 冀ICP備17018125號-1